Бесплатное занятие с репетитором 1 на 1! Оценим уровень знаний, разберём тему,
сформируем план подготовки к ЕГЭ. Запишись через тг-бот


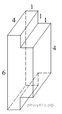
Найдите площадь поверхности многогранника, изображенного на рисунке (все двугранные углы прямые).

Решай задачи ЕГЭ в приложении
Скачивай наш Тренажер ЕГЭ на iPhone или Android и тренируйся в любое время и в любом месте!